hi guys,
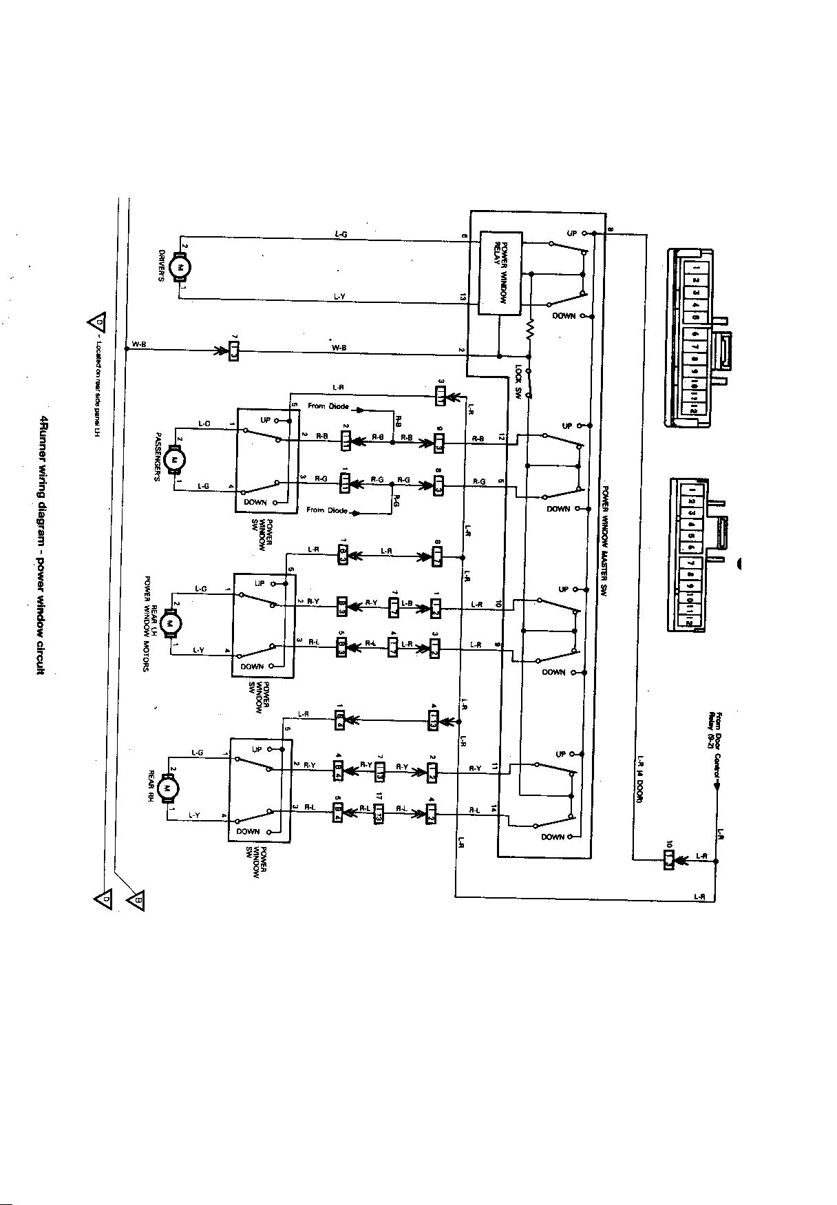
am i being over ambitious here, but is it possible to make the rear window up & down switch to operate in a one touch up and one touch down mode just as the driver window does. if so can i wire the switch already there to do this or do i need a replacement. if i need a new switch can anyone point me in the right direction please, as in type of switch needed - ie- spdt or dpdt u no the sort.
thanks in advance once again guys
am i being over ambitious here, but is it possible to make the rear window up & down switch to operate in a one touch up and one touch down mode just as the driver window does. if so can i wire the switch already there to do this or do i need a replacement. if i need a new switch can anyone point me in the right direction please, as in type of switch needed - ie- spdt or dpdt u no the sort.
thanks in advance once again guys







Comment