Hello
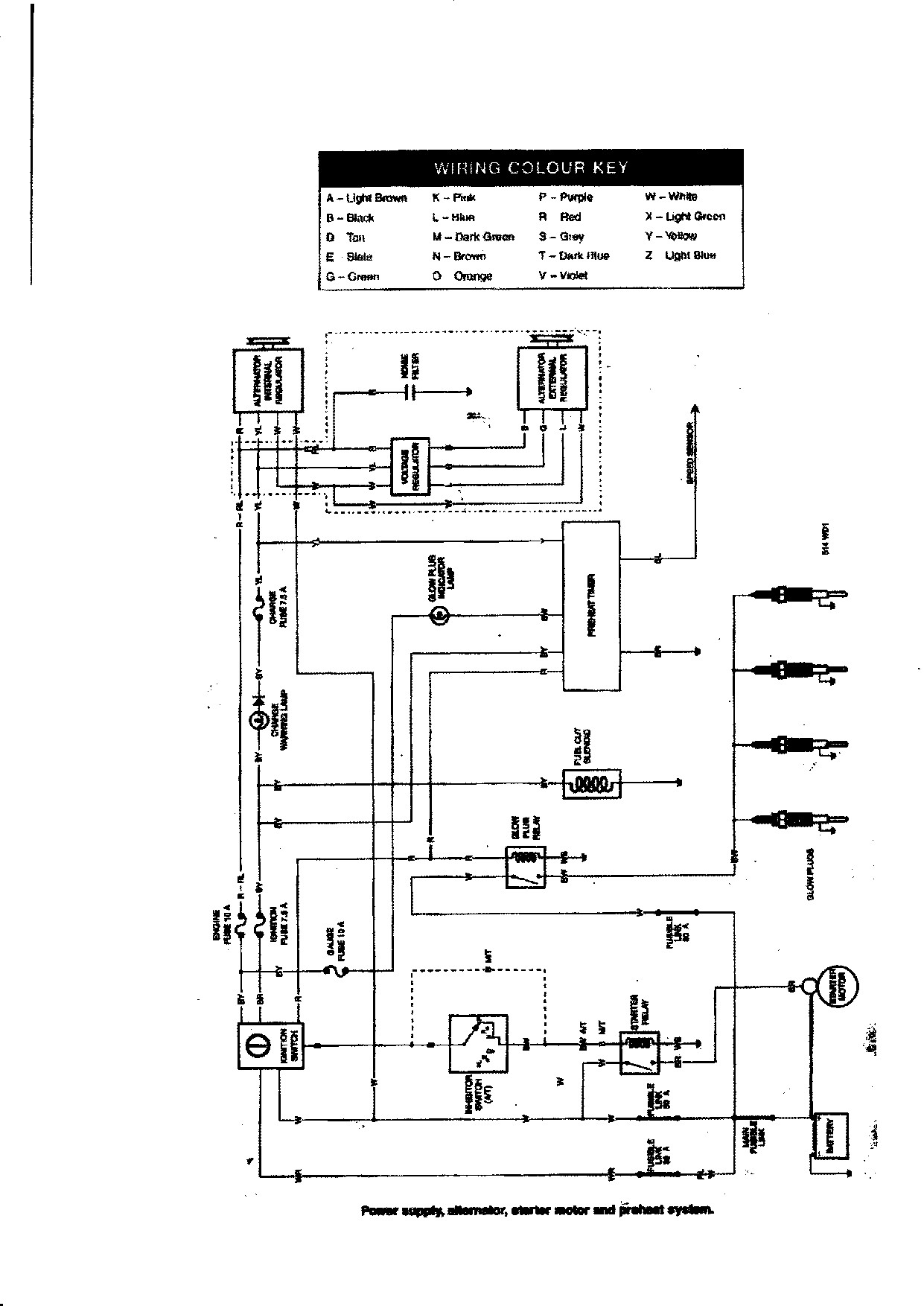
My first message to the site. I had probs with starting and the light only on for about 1 sec., also black smoke etc. Took it to a diesel specialist who fitted a by-pass (button) so that I can press for power to the glow plugs.
This is working fine but he says he now needs an electronic diagram to fix the problem permanently.
I also having head problems and waiting to choose the right mechanic for the job.
I have got the answers to many questions from this excellent site, especially those ones where you get a load of crap from those mechanics who are trying to prove something, due to their lack of good diagnostic skills.
A good tip for dealing with these people is to note how many of their questions ask about you as a driver and how important your car and driving is to you. If they are genuinely interested in helping you then their honesty will come through in the work they do on your vehicle.
Cheers
"Spartan"
					My first message to the site. I had probs with starting and the light only on for about 1 sec., also black smoke etc. Took it to a diesel specialist who fitted a by-pass (button) so that I can press for power to the glow plugs.
This is working fine but he says he now needs an electronic diagram to fix the problem permanently.
I also having head problems and waiting to choose the right mechanic for the job.
I have got the answers to many questions from this excellent site, especially those ones where you get a load of crap from those mechanics who are trying to prove something, due to their lack of good diagnostic skills.
A good tip for dealing with these people is to note how many of their questions ask about you as a driver and how important your car and driving is to you. If they are genuinely interested in helping you then their honesty will come through in the work they do on your vehicle.
Cheers
"Spartan"



 Nil Illigitimi Carborundum
Comment